СИЛА РОССИИ. Форум сайта «Отвага» (www.otvaga2004.ru)

Информация о пользователе

Привет, Гость! Войдите или зарегистрируйтесь.


Вы здесь » СИЛА РОССИИ. Форум сайта «Отвага» (www.otvaga2004.ru) » Бронетанковая техника » Танковые орудия,и другое вооружение танков


Танковые орудия,и другое вооружение танков

Сообщений 301 страница 312 из 312

301

Штепсель написал(а):

Как вариант, кожух ухудшает теплообмен со средой и, соответственно, охлаждение ствола?

А я бы поставил на то, что кожух утяжеляет и приводы пушки и стабилизатора не справляются.

0

302

Рядовой-К написал(а):

Штепсель написал(а):

    Как вариант, кожух ухудшает теплообмен со средой и, соответственно, охлаждение ствола?

А я бы поставил на то, что кожух утяжеляет и приводы пушки и стабилизатора не справляются.

Я бы поставил на то, что эффект от кожуха не сказать чтоб велик и поэтому на него забили.

0

303

Штепсель написал(а):

Я бы поставил на то, что эффект от кожуха не сказать чтоб велик и поэтому на него забили.

глядя на то, как сеет 2А72 не сказать, что эффект невелик. Для 42, наверное, меньше проявляется.

0

304

Рядовой-К написал(а):

А я бы поставил на то, что кожух утяжеляет и приводы пушки и стабилизатора не справляются.

так он ставится на новую башнэ, в чем проблема ставить новые приводы?

0

305

mr_tank написал(а):

глядя на то, как сеет 2А72 не сказать, что эффект невелик. Для 42, наверное, меньше проявляется.

А вы какой линейкой и, самое главное, что меряли?) Емнип, открытых данных по изменениям Сэ нигде нет.

0

306

Штепсель написал(а):

А вы какой линейкой и, самое главное, что меряли?) Емнип, открытых данных по изменениям Сэ нигде нет.

если от БТР летят трассы веером, то как бы линейка не нужна, чтобы увидеть проблемы.

0

307

mr_tank написал(а):

если от БТР летят трассы веером, то как бы линейка не нужна, чтобы увидеть проблемы.

Куль, и насколько постановка фермы эту проблему решает?

0

308

Как-то мимо прошло. Пашолок выложил давненько уже выложил видео с д-379, 152мм гладкоствольной пушкой. Масса офс 48,77 кг, началка 880 мс, началка бопс 1980 м/с.
https://upforme.ru/uploads/000a/e3/16/4903/t816387.png
https://upforme.ru/uploads/000a/e3/16/4903/t367228.png

0

309

Танковые пушки разрабатывал вроде только ОКБ называемого нынче девятым заводом. Лафет б-4 вроде как использовался на их полигоне на Красном для испытаний.

0

310

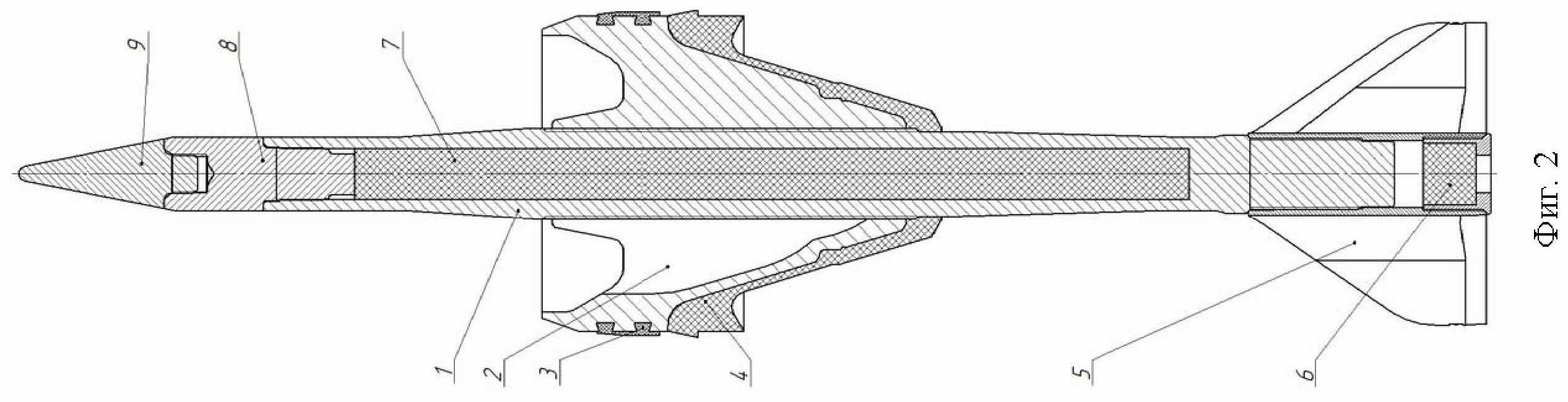
Выстрел телескопической конструкции с бронебойным оперенным подкалиберным снарядом

Ссылка

http://upforme.ru/uploads/000a/e3/16/1472/t260207.jpg

Бронебойный оперенный подкалиберный снаряд с повышенным заброневым воздействием

Ссылка

http://upforme.ru/uploads/000a/e3/16/1472/t677275.jpg

0

311

Какая-то ЭТХАС.

0

312

Штепсель написал(а):

Какая-то ЭТХАС.

Про модульные  заряды  к 152-мм гаубице 2А86 САУ "Коалиция-СВ" писали, что они тоже с плазменной инициацией.

0


Вы здесь » СИЛА РОССИИ. Форум сайта «Отвага» (www.otvaga2004.ru) » Бронетанковая техника » Танковые орудия,и другое вооружение танков