вроде давно решили проблему
Это не решение. Во-первых, ствол не поднять, во-вторых, народ с машины падает.
СИЛА РОССИИ. Форум сайта «Отвага» (www.otvaga2004.ru) |
Привет, Гость! Войдите или зарегистрируйтесь.
Вы здесь » СИЛА РОССИИ. Форум сайта «Отвага» (www.otvaga2004.ru) » Бронетанковая техника » САУ-10
вроде давно решили проблему
Это не решение. Во-первых, ствол не поднять, во-вторых, народ с машины падает.
Это не решение. Во-первых, ствол не поднять, во-вторых, народ с машины падает.

хз. держатся надо или уточните в каких случаях падает
хз. держатся надо или уточните в каких случаях падает
При такой установке невозможно нормально ствол поднять, казённая часть в броню упирается.
Во вторых, расчёт при боевой работе слетает с машины, особенно когда броня мокрая/скользкая
Просто на броне места мало для нормальной боевой работы. "Василёк" изначально на такое не рассчитан.
Отредактировано Ф Дмитрий (2020-01-06 13:44:30)
При такой установке невозможно нормально ствол поднять, казённая часть в броню упирается.
дык балку ставили с расчетом и проверяли подъем ствола
Во вторых, расчёт при боевой работе слетает с машины, особенно когда броня мокрая/скользкая
в общем то афгане пкм в Кандагаре это было довольно редко при смене сезона зима\лето
а так лучше что то с броней придумать чем тупо ответку ловить не 
@ Ф Дмитрий
Вы не забыли, что "Нона"- "Вена" может стрелять минами? И им не мешает "негладкий ствол" 8)))
Только это не противотанковые боеприпасы! А в случае противотанковых кумулятивных боеприпасов у вас должно быть кольцо, которое компенсирует вращательное движение
6 секунд это порядка двух километров. Зачем держать включённым ЛЦД, если боеприпас просто "не видит" отражённого от цели луча?
400 метров, уважаемый, 400 метров. На дальности в 3000 метров окончательная скорость 280 метров в секунду. То есть будет достаточно 1.4 секунды подсветки
Нет нет нет и один раз нет. ГСН ракеты должен успеть «поймать» луч и отправить его исполнительным механизмам ракеты. (перемещение поверхностей управления)
Во-вторых, ошибки синхронизации означают, что если вы хотите поразить движущуюся цель, вы должны светить почти постоянно. И это необходимо для движущейся цели.
M712 Copperhead было это время равны непрерывное освещение цели в течение минимум 13 секунд.
1A35 было это время равны непрерывное освещение цели в течение минимум 6 секунд пока он неподвижен, как движется цель - несколько секунд - более десяти Это не может быть решено иначе, когда снаряд прибывает "сверху"
30 километров в час, 30 секунд, 250 метров. 1 минута- 500 метров. Таких расстояний за глаза достаточно.
О, так вы думаете, они будут развиваться в 500 м от предыдущей пожарной части?
XD
Я так не думаю.
Ну а для стрельбы по военным целям ...
Даже по стрельбе по неукрытой пехоте 95 мин на гектар. 95х6 = 570 мин То есть почти 6 минут стрельбы одним "Васильком" на предельной практической скорострельнонт
700х6 = 4200 мин. 42 минуты непрерывной стрельбы на предельной практической скорострельности


А поскольку один бандеровский миномет вызвал реакцию, думаете ли вы, что кто-то в конфликте отпустит батареи нескольких минометов? Оставит ли он ее безнаказанным?
Как они смогут обнаружить, если они будут вначале заглушены, а потом уничтожены?
А беспилотники, наверное, заглушить и сбить нельзя, потому что это признано военным преступлением?
Конечно, вы здесь, но обратите внимание на возможности.
а так лучше что то с броней придумать чем тупо ответку ловить не

Сегодня 16:18:39
венгр?
венгр?
да, один из вариантов
2020-01-05 19:07:57
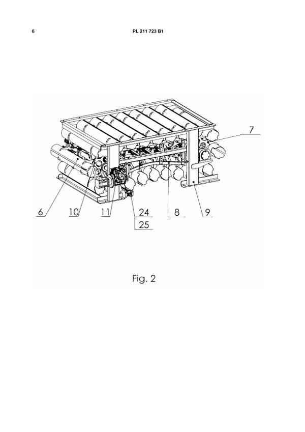
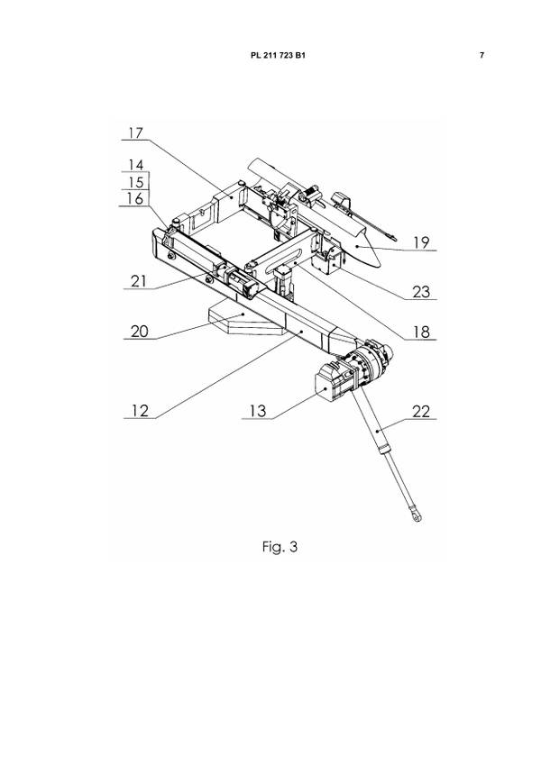
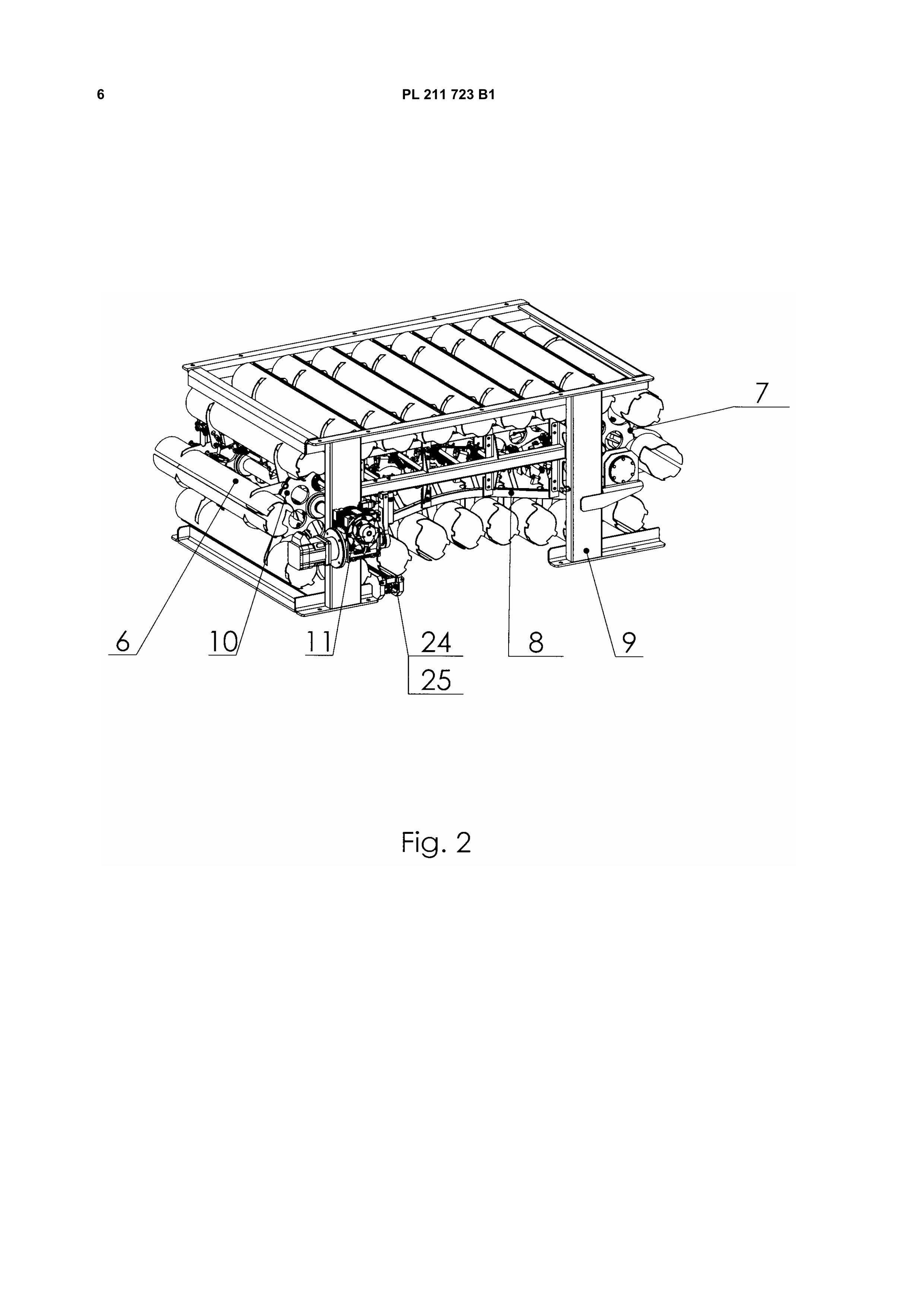
RAK, патент.
Рисунки крупнее.
Отредактировано tankoff (2020-01-07 02:59:11)
Только это не противотанковые боеприпасы! А в случае противотанковых кумулятивных боеприпасов у вас должно быть кольцо, которое компенсирует вращательное движение
Зачем???
Для "Ноны" и её потомков не надо никакого "кольца". Достаточно было просто не делать выступы под нарезы. Но их сделали, чначит сочли необходимым придать снаряду вращение.
Нет нет нет и один раз нет. ГСН ракеты должен успеть «поймать» луч и отправить его исполнительным механизмам ракеты. (перемещение поверхностей управления)
И он успевает это сделать за 400 метров до цели.
Именно из этого расстояния я и считал
Во-вторых, ошибки синхронизации означают, что если вы хотите поразить движущуюся цель, вы должны светить почти постоянно. И это необходимо для движущейся цели.
Движущиеся цели не надо подсвечивать постоянно, достаточно удерживать на них перекрестие ЛЦД. А светить пару секунд именно тогда, когда ЛГСН сможет принимать отражённый сигнал.
О, так вы думаете, они будут развиваться в 500 м от предыдущей пожарной части?
И даже меньше.
И я не думаю, это так и есть.
А поскольку один бандеровский миномет вызвал реакцию
Естественно. Стреляли по гражданскому объекту. Засекли чем-то Нанесли удар. Подавили
Конечно, вы здесь, но обратите внимание на возможности.
Речь, собственно, о том, что "стандарт НАТО продусматривает слишком большую зависимость от РЛС. И этим легко можно воспользоваться
Синие провода - это видимо датчики для испытаний, а не проводка для радаров.

Отредактировано Gelios (2020-01-11 22:25:32)
а не проводка для радаров.
Интересно почему решетки радаров такие большие? На флоте и иностранных САУ они гораздо меньше
РЛС не только для измерения скорости снарядов, также сопровождает их на траектории для расчета и передачи данных снарядам оснашенных специальными насадками, если ничего не путаю.
Сегодня у НИИ Буревестник видел не знаю как правильно по этому напишу пушку . Ствол похож на коалицию а лафет от гиацинта . Жаль сфотографировать не удалось .
Сегодня у НИИ Буревестник видел не знаю как правильно по этому напишу пушку . Ствол похож на коалицию а лафет от гиацинта . Жаль сфотографировать не удалось .
Оно?

NoName
Нет. Лафет как гиацинта 4 колеса было .
А эжектор на орудии был?
Blitz.
Что это ? Хреновина на середине ствола была .Говорю ствол на коалицию похож был а лафет от гиацинта. Капец она длинная была ,почти во весь прицеп на котором везли ее .
Что это ? Хреновина на середине ствола была
Оно самое. Спасибо. Значит очередные испытания на лафете, а не буксируемая версия.
Blitz.
Мне показалось ,как законченное изделие . По этому и решил написать сюда.
Wladimir Shchettinin
Давайте я расскажу про фантастические успехи нашего (украинского) военпрома. Если читать всякие СМИ, то догнали и перегнали, а потом ещё раз отстали, но уже специально, шоп потом опять с ухмылкой перегнать. Типа издеваемся.
За всю промышленность не знаю, бо работаем тока с артой, но подозреваю, шо паттерн поведения везде один, в медицине, образовании. Везде. Для того, чтоб охарактеризовать состояние артиллерийской промышленности не надо подбирать слова. Подходящее слово есть. П....ц! Это и есть то самое ёмкое слово. Для тех, кто не знает его смысл, постараюсь пояснить. С фотографиями и даже с видео.
Для начала расскажу последнюю новость, шо меня поразила. Не ту, шо у Богданы затвор разорвало. Там мы знали ещё год назад, шо к этому идет. А другую, 40летнюю новость. Совсем недавно, разбираясь с kill mechanics осколочного снаряда прочел американскую статью 1973 года, unclassified. Так, ниче особого, печки-лавочки, рассказывает, как летает, взрывается, типы сталей перечислены, высокуглеродистые, высококремнивые, какая какой эффект дает, всякие графики, нарисованные ещё на теплых ламповых компьютерах.
Так вот, к чему я, славные нанотехнологические украинские снаряды, аналогов, которым нема во всем мире, с помпой заявленные Пастором разлетаются на 5 крупных и ещё штук 50 мелких осколков. Пусть даже 100.

На фото видите типичный осколок украинского снаряда.
Канешн, ща набегут, которые будут кричать, шо выдаю военную тайну и все такое. Так вот. Тайну хранят от граждан Украины, выставляя всех их идиотами, которые гордятся бутафорными разработками.
Про взрывчатое вещество, которым снаряжают снаряды просто промолчу, не потому шо, там сказать нечего плохого. А просто потому шо надо писать меньше матюков в единицу времени. Зато люди дали работу украинским саперам, которым пришлось в срочном порядке приехать на склады и расснаряжать снаренные ВВ снаряды. Бо ВВ начало разбухать, как гречневая крупа, в набитой доверху кастрюле.

Теперь давайте сразу перейдем к итогам. На второй фоте вы видите снаряд, инертный. Ну, который не взрывается. Извлеченный из грунта. Ну, вот снаряд – крассавчег. Канешн, скручен из трех частей и о стрельбе рикошетами не может быть и речи, но не поэтому я выставил эту фоту. Смотрим внимательно. Ниче не замечаете? Сдаетесь? Подвох в том, шо у нас нарезы в пушках правые. Если смотреть вслед снаряду, он вращается по часовой стрелке. Вот. А царапины от грунта такие, как будто он зашел в грунт, вращаясь против часовой стрелки. Как так может быть? Да, просто. Он жопой вошел в грунт. Если кто совсем не шарит в арте, то открою тайну – снаряды летают носом вперед, а жопой назад. Жопой вперед летают тока уникальные украинские боеприпасы аналогов которым нема в мире.
В качестве вишенки на кучке навоза добавлю ещё короткое видео стрельбы новым украинским снарядом на Гончаровском полигоне. Из-за дичайшей разбалансированности, снаряд ударился юбкой о дульный тормоз, сильный удар повредил дульный тормоз, от удара взрыватель взвелся и через 100 миллисекунд, как и положено – сработал. На расстоянии 80 метров. Обеспечив полные памперсы радости обслуге орудия. Слава Богу, шо осколочность 10 осколков, а не 28 тысяч, бо все были бы трупами.
Так и живем. От одной хорошей новости к другой.)
https://diana-mihailova.livejournal.com/4423033.html
Отредактировано DAK (2020-01-21 19:22:45)
152-мм советский артиллерийский снаряд 3БВ3 мощностью 2,5 килотонн https://diana-mihailova.livejournal.com/4426352.html
Министерство национальной обороны Филиппин (DND) находится на заключительной стадии переговоров, и ожидается выпуск Уведомления о награде (NOA) в пользу дополнительных двух батарей САУ (12 ед. в дополнение к 6 имеющимся) Elbit ATMOS 155mm SPH & C4I. Кроме того, Департамент бюджетного управления (DBM) в конце прошлого года уже предоставил финансирование через систему SARO, на 47 млн. долларов, сообщают филиппинские СМИ.
Отредактировано Oleg7700 (2020-01-25 18:12:50)
152-мм советский артиллерийский снаряд 3БВ3 мощностью 2,5 килотонн https://diana-mihailova.livejournal.com/4426352.html
фигня какая то - в заголовке написана мощность боеприпаса в 2,5 кТ , а в таблице написано 0,3 кТ
фигня какая то - в заголовке написана мощность боеприпаса в 2,5 кТ , а в таблице написано 0,3 кТ
Комментарии читать надо
Расходимся, нас нахлобучили
Автор селюковый сумасшедший
https://sgs-mil.org/istoriya-boevogo-pr … aradi.html
Комментарии читать надо
ясно. жесть просто... у автора коматоз в башке
О испытаниях САУ К9 и ТЗМ К10 в Норвегии
По заявлению руководства, САУ продемонстрировала отличную работу противооткатных устройств, отдача поглощается настолько эффективно, что внутри машины почти не ощущаются вибрации. Последняя тройная серия ушла менее чем за 15 секунд, при том, что рекорд составляет 10,8 секунды. Средний начальный темп стрельбы составляет 10 выстрелов в минуту (производитель указывает 12), потом он снижается всего до 6-8 выстрелов, а при продолжительной стрельбе в течение часа и до 2-3 в минуту.
...
Боевая масса K9 Vidar 48 тонн, а у K10 46 тонн. Норвежский вариант САУ примерно на тонну тяжелее по сравнению с корейской Thunder. Отчасти это связано с размещением в машине дополнительного снаряжения и экипировки экипажа, а также с его увеличением на одного человека. По словам производителя, K9 и K10 могут работать с четырьмя и двумя членами экипажа соответственно. Однако норвежская армия решила укомплектовать их пятью в К9 и тремя в К10. В связи с этим возимый боезапас K9 уменьшился с 46 до 44 гранат.
В кондиционируемом отсеке в кормовой части К10 стабильно поддерживается температура около +21°С и можно перевозить 104 снаряда и 504 заряда, пополняя боезапас прямо на огневой позиции. Простой арифметический подсчет показывает, что такое количество боеприпасов лучше всего подходит для обслуживания одной ТЗМ двух САУ K9. В южнокорейской армии именно так и принято. Норвегия также поначалу рассматривала возможность приобретения двенадцати ТЗМ, но бюджет позволил только шесть.
...
В частности, при загрузке боеприпасов в ТЗМ снаряды и заряды должны автоматически сортироваться по стеллажам. При этом когда перед камерами журналистов в К10 подавали очередную гранату, каретка попыталась ее поставить в уже занятую ячейку.
Проблему не удалось решить сразу, потому что на экране высвечивались сообщения об ошибках на корейском языке. Норвежские солдаты из экипажей, которые сейчас участвуют в испытаниях, предварительно прошли обучение у производителя, но выделенных для этого трех недель оказалось мало, чтобы в достаточной мере освоить иероглифы. В связи с этим личному составу пока приходится решать проблему методом проб и ошибок с элементами научного тыка.
кхм, странно что сервис не перевели.
Хосты
Экскалибур С - и по ЖэПэЭс и по лазеру.
Вы здесь » СИЛА РОССИИ. Форум сайта «Отвага» (www.otvaga2004.ru) » Бронетанковая техника » САУ-10