Патенты
Сообщений 151 страница 180 из 184
Поделиться1522025-05-31 10:34:10
Не лишние накрутили ?
два верхних как я понимаю без экипажный, нижние два как с экипажем.Все из патенте.Отредактировано PawelTu (Вчера 23:59:44)
Не, это аварийная система.
"модуль снабжен аварийной системой прицеливания и управления вооружением, причем указанная система включает в себя прицел-дублер, ручные приводы горизонтального вращения башни и вертикального вращения оружейной маски, аварийное складное сиденье оператора, укрепленное на внутренней задней поверхности башни без погружения его во внутреннее пространство боевой машины в сложенном состоянии."
Отредактировано DAK (2025-05-31 10:35:03)
Поделиться1532025-06-04 19:48:58
Экспортный АМН-59097 "Спартак", что делали по заказу Ливии

Отредактировано DAK (2025-06-04 20:13:20)
Поделиться1542025-06-04 20:28:02
Осталось сделать из него пикап)
Поделиться1552025-06-04 22:13:38
Осталось сделать из него пикап)
Такой?
Поделиться1562025-06-05 10:19:31
Такой?
Да, только еще зушку в кузов поставить надо)
Поделиться1572025-06-18 18:23:26
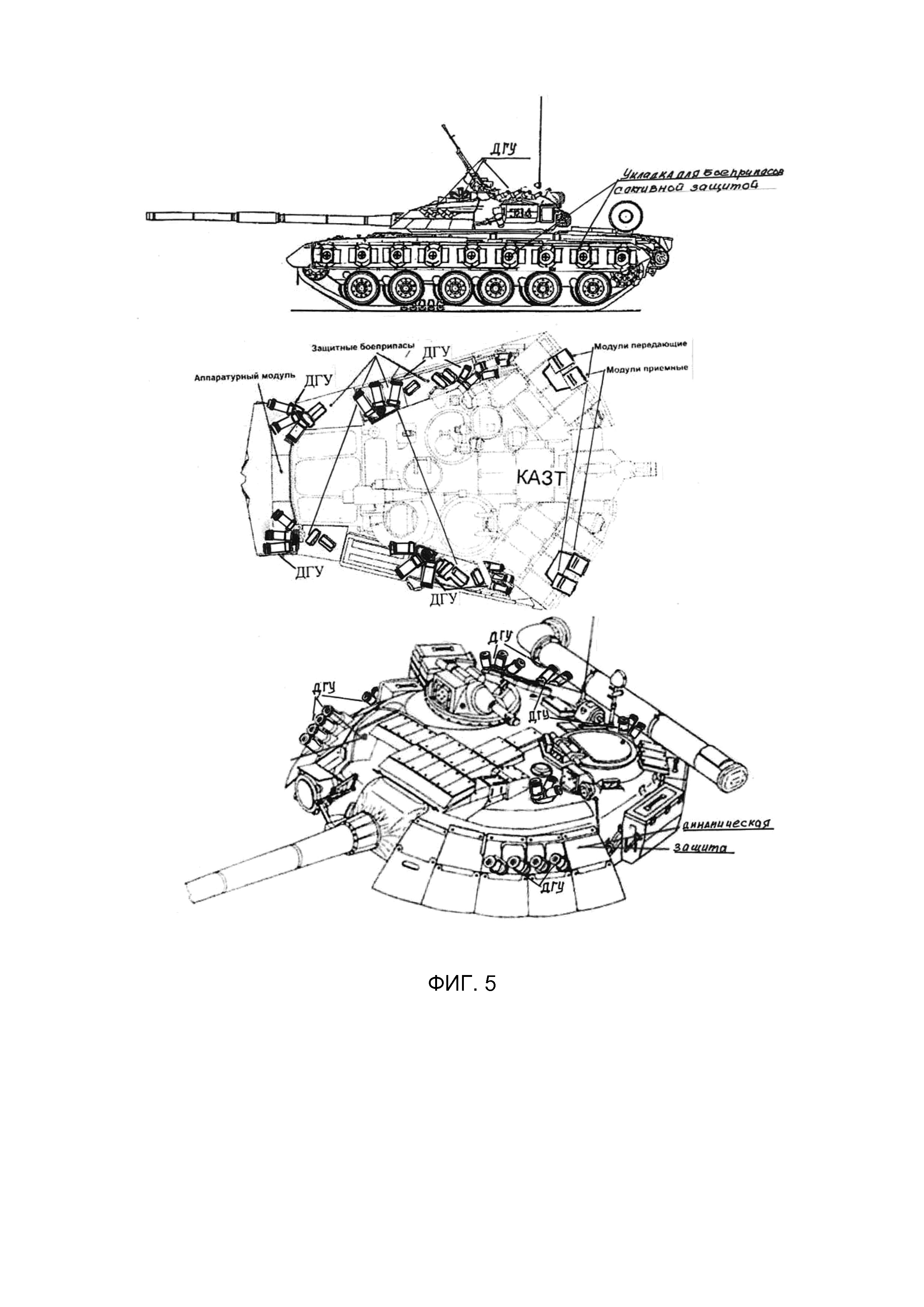
Штурмовой танк с дополнительным дистанционно управляемым модулем вооружения
Изобретение относится к орудию танка и танку. Танк дополнительно содержит разведывательно-огневой комплекс, состоящий из БЛА с приборами наблюдения и вооружения и мачтой. Также танк дополнительно содержит дистанционно управляемый модуль вооружения, состоящий из 30 мм автоматической пушки и контейнеров реактивных пехотных огнеметов, размещенных в верхней части башни с большими диапазонами углов возвышения. При оснащении танка КАЗ типа Арена-М или Дрозд-2 можно предусмотреть автоматическую наводку на цель типа ПТУР атакующий танк с верхней полусферы или БЛА и дронов-камикадзе. Дополнительно танк содержит активную систему лазерного противодействия, состоящую из встроенного лазерного дальномера и квантового генератора. Танк содержит бульдозерное оборудование с элементами динамической защиты с увеличенной толщиной металлических контейнеров. Результат - создание штурмового танка с укороченным орудием и бульдозерным оборудованием с возможностью дистанционного управления. 4 ил.

Поделиться1582025-06-18 18:46:55
Решительно непонятно, куда там физически помещаются БПЛА.
Да и короткий ствол не способствует реализации большой дальности стрельбы, для использования целеуказания БПЛА.
Так что проект весьма коряв - потому, что решили наскоро слепить из прежнего проекта штурмового танка для ближнего боя машину для дистанционного огневого порадения.
Схема защиты не оптимизирована для защиты от подобных дистанционных атак противника с навесной траекторией ПТС.
Но сама мысль о дальнобойном вооружении - это верная мысль.
Поделиться1612025-10-14 20:05:38
ГРАФИЧЕСКИЙ ИНТЕРФЕЙС ПОЛЬЗОВАТЕЛЯ ПРИЛОЖЕНИЯ КОНТРОЛЯ ДВИЖЕНИЯ ТРАНСПОРТНОГО СРЕДСТВА
https://www.fips.ru/cdfi/fips.dll?ty=29 … 0&ki=S

Поделиться1642025-10-21 19:59:14
Решительно непонятно, куда там физически помещаются БПЛА.
Хоть в одной теме не упомянули бы о своих БПЛА.
Поделиться1662025-11-11 19:00:12
Технический результат - улучшение кучности стрельбы автоматического оружия, повышение надежности работы.
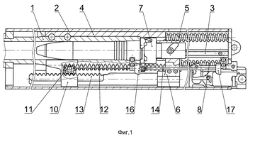
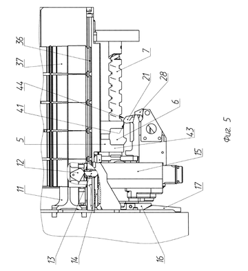
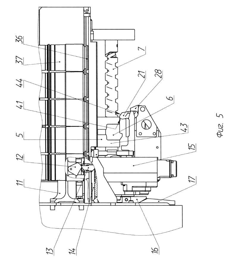
Патент Система подачи боеприпасов автоматического оружия
Технический результат - повышение безопасности работы и улучшение эксплуатационных качеств системы селективной подачи боеприпасов автоматического оружия.
Отредактировано DAK (2025-11-13 20:23:14)
Поделиться1672025-11-11 20:37:39
Судя по патрону - да, она. Кстати, лотки подачи похоже по 6 патронов.
Отредактировано Штепсель (2025-11-11 20:48:34)
Поделиться1692025-11-11 21:16:22
Ага, раньше было три.
А теперь шесть на нижнем и на верхнем лотке.
Видимо, патент буревестника не дает создать систему подачи, аналогичную таковой на ау-220м
Поделиться1712025-11-26 21:41:35
Не пони, тут элементы каз еще и на бортовых экранах?
Поделиться1722025-11-29 21:27:46
Не пони, тут элементы каз еще и на бортовых экранах?
Это известные "мусорные" патентователи из Саратовского университета.
Поделиться1732025-11-29 21:49:31
Судя по патрону - да, она. Кстати, лотки подачи похоже по 6 патронов.
Отредактировано Штепсель (2025-11-11 20:48:34)
Уже был другой патент на эту же конструкцию -
ссылка
Поделиться1752025-12-18 15:56:41
Поделиться1762026-04-30 21:00:22
Патент на Дистанционно-управляемый механический модуль «Цитадель»
(возможно как стационарный вариант)
Полезная модель относится к области вооружения. Дистанционно-управляемый механический модуль содержит опорно-поворотное устройство, блок с возможностью установки различных видов и типов оружия, магазины системы подачи и хранения боекомплекта, электрооборудование, вращающееся контактное устройство (ВКУ), систему управления с выносным пультом. Модуль также содержит поворотную платформу, круглое основание с отверстием в центре, нижнее кольцо опорно-поворотного устройства, неподвижная часть ВКУ снабжена разъемами для подсоединения кабелей электропитания, выносной пульт управления и сеть с дистанционной цифровой системой управления, блок электрооборудования с разъемом для подключения электроспуска вооружения, защитный колпак, доплеровский измеритель начальной скорости боеприпаса и аппаратуру установки взрывателя. Обеспечивается повышение эффективного управления вооружением.
Отредактировано DAK (2026-05-03 21:11:17)
Поделиться1782026-05-18 18:25:54
БОЕВОЙ МОДУЛЬ С ДИСТАНЦИОННЫМ УПРАВЛЕНИЕМ "Арбалет-ДМ-М"
Приблуда на АГ-30, это увы не механизм дистанционного взрыва гранаты, а механизм перезарядки стрелкового оружия (кассета с пиропатронами).
Патент на Механизм перезарядки стрелкового оружия
Отредактировано DAK (2026-05-18 18:27:13)
Поделиться1792026-05-18 18:31:43
Приблуда на АГ-30, это увы не механизм дистанционного взрыва гранаты, а механизм перезарядки стрелкового оружия (кассета с пиропатронами).
Патент на Механизм перезарядки стрелкового оружия
Ну, логично, у нас вроде везде писали, что программировать хотят лазером.

















