а почему выемка у него не угловая? Такая форма больше для УЯ годится ведь?
Ну, вроде дырку такой проделает неглубокую, зато широкую.
СИЛА РОССИИ. Форум сайта «Отвага» (www.otvaga2004.ru) |
Привет, Гость! Войдите или зарегистрируйтесь.
Вы здесь » СИЛА РОССИИ. Форум сайта «Отвага» (www.otvaga2004.ru) » Бронетанковая техника » Защита современной БТТ-5
а почему выемка у него не угловая? Такая форма больше для УЯ годится ведь?
Ну, вроде дырку такой проделает неглубокую, зато широкую.
полусферы дают низкоградиентную по скорости и короткую струю
Амеры тут на абрамс и бредли какой-то дубм химичат. Вроде какой-то вариант bullfrog от acs.
Ага, понятно почему такая форма. Штамповка из медной трубы.
Штамповка из медной трубы.
Фига кому-то деньги ляжку жгут.
Фига кому-то деньги ляжку жгут.
Это деревянный макет, laser cut wood.
вот жеж интересно. Борта ДЗ закрыли, а башню - нет.

времени не было, лепил что успевал и как успевал, M109 
крышка люка страйкера на ВЛД, 7мм







спартан с керамикой 
макс про, этот замер уже не мой
толщина защиты двери 15мм алюминий-34мм зазор-9мм сталь


проверил свои оценки борта замером на CV9040C
Отредактировано Wiedzmin (2025-11-04 21:52:08)
https://dzen.ru/a/aQniFS6QbCpKtK0X
Российские танки с защитой «Царь-мангал», начали оснащаться самодельной
защитой Еж, как показала практика она более эффективна против дронов. На
видео за необычным обличьем это танка, скрывается танк Т-80БВМ. Защита
«Еж» называемая так же «Дикобраз», по сути та же версия защита
«Царь-мангал» но усиленная железными прутьями или расплетенной железной
проволкой. При ударе ФПВ-дрона в танк, кумулятивная струя боеприпасов
дронов теряет свою пробивную силу. Известны случай когда такая защита
выдержала удары десятков ФПВ-дронов. Стоит отметить, пока нет нормальной
активной защиты танков от ФПВ-дронов, такие конструкции будут и дальше
развиваться.
Отредактировано Шестопер (2025-11-05 01:32:09)
Отредактировано Шестопер (2025-11-09 08:03:53)
Эдак и до геодезических куполов дойдут, и до тенсегрити. Когда войска мятежной юго-западной провинции будут разгромлены, а её лидер повешен на портальном кране, опыт их использования пойдёт в народное хозяйство для массового строительства быстровозводимого жилья в замен разрушенного войною.
У ежика есть преимущество заключающееся в том, что его не сносит препятствиями.
Отредактировано Шестопер (2025-11-09 08:03:53)
ВСУ начали копировать пучки расплетенных тросов в качестве противодроной защиты.
На БТР Stryker.

https://www.youtube.com/watch?v=jIpSmBBy4uM
Сараи супротив ФПВ-шек от КП.
Первый прилёт ФПВ со старой гранатой от РПГ-7 на 12:15 в бортовую проекцию, струю разбило на несколько соплей. Попало под башню, пробило 2 листа, видно ниже в спойлере на втором скриншоте. Я не знаю как он/они умудряются засадить в такие части машины что при попадании в борт умудрились найти угол чтобы 2 бронелиста по траектории были.
Внутрь струя дошла настолько дохлой что продырявить уже внутренний подбой не смогла. Со слов отогнула листочек только, следов пробития не увидели.

Второй прилёт был в ВЛД, в блок ДЗ, но без ЭДЗ. Проникновении 120 мм. Выстрел был ВЛ. Без скринов, смотреть не на что.
Третий - в МТО видимо целились, но попали под башню в крышу корпуса. Пробитие не нашли внутри.
Ещё одна попытка загнать в корму. Крышки МТО нет на машине которую обстреливали.
После попадания пошёл дым из башни и из ствола орудия. Пробитие нашли внутри, дырка в листе между БО и МТО. Возможно и в БК пришло бы, если бы он был.
очередное тупое говно, но

вот это вот или РПГ-18 или РПГ-22 кмк
средство инициации примотано хер пойми как, соблюдена ли соосность хз
в итоге струю у него мыть начинает не из за разнесения скорее всего, а из за такой вот инициации.
где у него там ВЛ был честно хз, есть скрин ?
в целом опять же хз что тут обсуждать, кустарный мусор от кустарного мусора иногда может что то там, и то не всегда, а если в вас летит не мусор, а нормальное КСП с нормальной системой инициирования ?
у меня сложилось впечатление, что струя отклоняется в результате того, что в момент инициации БЧ имело вращение по поперечой оси. Скорость струи большая, но след похож именно на качание. Инициатор на дронах сделан лучше, но тоже несиметричен, и влияет на струю.
очередное тупое говно, но
вот это вот или РПГ-18 или РПГ-22 кмк
средство инициации примотано хер пойми как, соблюдена ли соосность хз
в итоге струю у него мыть начинает не из за разнесения скорее всего, а из за такой вот инициации.
где у него там ВЛ был честно хз, есть скрин ?
в целом опять же хз что тут обсуждать, кустарный мусор от кустарного мусора иногда может что то там, и то не всегда, а если в вас летит не мусор, а нормальное КСП с нормальной системой инициирования ?
Гранаты действительно похожи на что-то от одноразок, я особо не вглядывался.
Показателен уровень проблемы и найденного решения в полях. Тяп-ляп летит в кое-как и плюхается куда бог пошлёт, и это уже на какой год этого мордобоя. Первый ФПВ который впечатали в борт Иракскому Абрамсу был ещё в 2016 или 17 году, Игилоидами (правда тогда это был небольшой самолётик). Скоро 10 лет применению изделия. Смешно немного.
Меня чутка удивило что козырьки в принципе могут немного ослабить воздействие примотанных поганок из-за того что эти мангалы дают больше физического места для кривизны примотки+инициации+прилёта дрона сыграть свою роль и размазать кум струю. Та же история и с "одуванчиками", но те ещё могут сам дрон отклонить из-за воздействия прутиков на пропеллеры или тело дрона.
Мангалы и одуванчики можно заменить на какую-то простую ДЗ (которая может быть оптимизирована только против моноблоков даже и без использования взрывчатки) и не городить сарай вовсе. И вещать даже на лёгкую БТ, это могло бы сильно облегчить применение БТТ в зоне действия ФПВшек. Но видимо всем побоку.
Ещё показывает насколько рандом играет роль в этом кордебалете когда прилёт в корму мангала заканчивается поражением крыши корпуса под башней у борта танка.
Это всё мангалостроение сдохнет когда ФПВ-хи начнут делать с нормальным конструктивом.
Это всё мангалостроение сдохнет когда ФПВ-хи начнут делать с нормальным конструктивом.
у поганок пробитие должно падать при срабатывании на дистанции больше пробития. Это примерно 400мм, т.е. вот такое разнесение вполне рабочее. Хотя даже 200мм при прилете в борт может быть достаточно.
А одуванчики вполне могут срабатывать в том плане, что отклоняют продольную ось боеприпаса от места, куда направляет FPV пилот.
у поганок пробитие должно падать при срабатывании на дистанции больше пробития. Это примерно 400мм, т.е. вот такое разнесение вполне рабочее. Хотя даже 200мм при прилете в борт может быть достаточно.
А одуванчики вполне могут срабатывать в том плане, что отклоняют продольную ось боеприпаса от места, куда направляет FPV пилот.
Да даже при штатном применении гранатометов бывают неудачные попадания, когда пробитие существенно снижается по сравнению с идеальным попаданием. Тем более что стрельба часто ведется по движущейся цели. Так что эти Фпв применяются относительно эффективно, тем более что большинство целей это не танки и даже не Бмп а различная небронированная или легкобронированная техника.
А для повышения эффективности пробития первое дело это установка более мощных БЧ. Та же основная БЧ тандемного выстрела рпг-7 имеет бронепробитие при оптимальном фокусе до 700 мм
оказателен уровень проблемы и найденного решения в полях
проблема не в ФПВ, и не в танках, она в людях принимающих решения, но кого ж это волнует да.
Это примерно 400мм,
нет
Это всё мангалостроение сдохнет когда ФПВ-хи начнут делать с нормальным конструктивом.
ФПВ сдохнут когда просто кто то начнет закупать нормальные ДУМВ

довольно странный тест ХСЧКВ-34 против 3БМ26, видимо попытка оценить максимально возможный урон от элемента, поэтому стоит вдоль, а не поперек как в реальном блоке.
струя как видно даже такой древний лом пробить не смогла, но импульса воздействия хватило что бы расколоть часть в области воздействия струи, и казалось бы вот оно чудо, но нет, в реальной жизни над элементами "Ножа"/"Дуплета" стоит толстая крышка которая сожрет часть(судя по всему бОльшую) импульса, и сам лом двигается, что не даст сфокусировать струю по какому либо участку самого лома, что еще интересно в этом случае, на ломе хорошо видны следы меди, которых почему то нет на известных фото "испытаний" 3БМ42(фото 2 и 3), где лом так же был расколот якобы в ходе реальных испытаний, а не такого же вот статичного подрыва .
Отредактировано Wiedzmin (2025-12-05 20:39:57)
В рамках противодействия БПЛА, наша объединённая команда Радарта и Фундамента работает над новым проектом турель Людмила
Мы поставили перед собой задачу сделать её полностью самостоятельной.
Простые парни , программисты, электрики, инженеры находящиеся здесь, просто хотят помочь парням которые находятся там.
Работы предстоит ещё много, но в скором времени Людмила окажется на фронте и будет прикрывать спины парням от вражеских FPV.
Отредактировано DAK (2025-12-06 19:03:09)
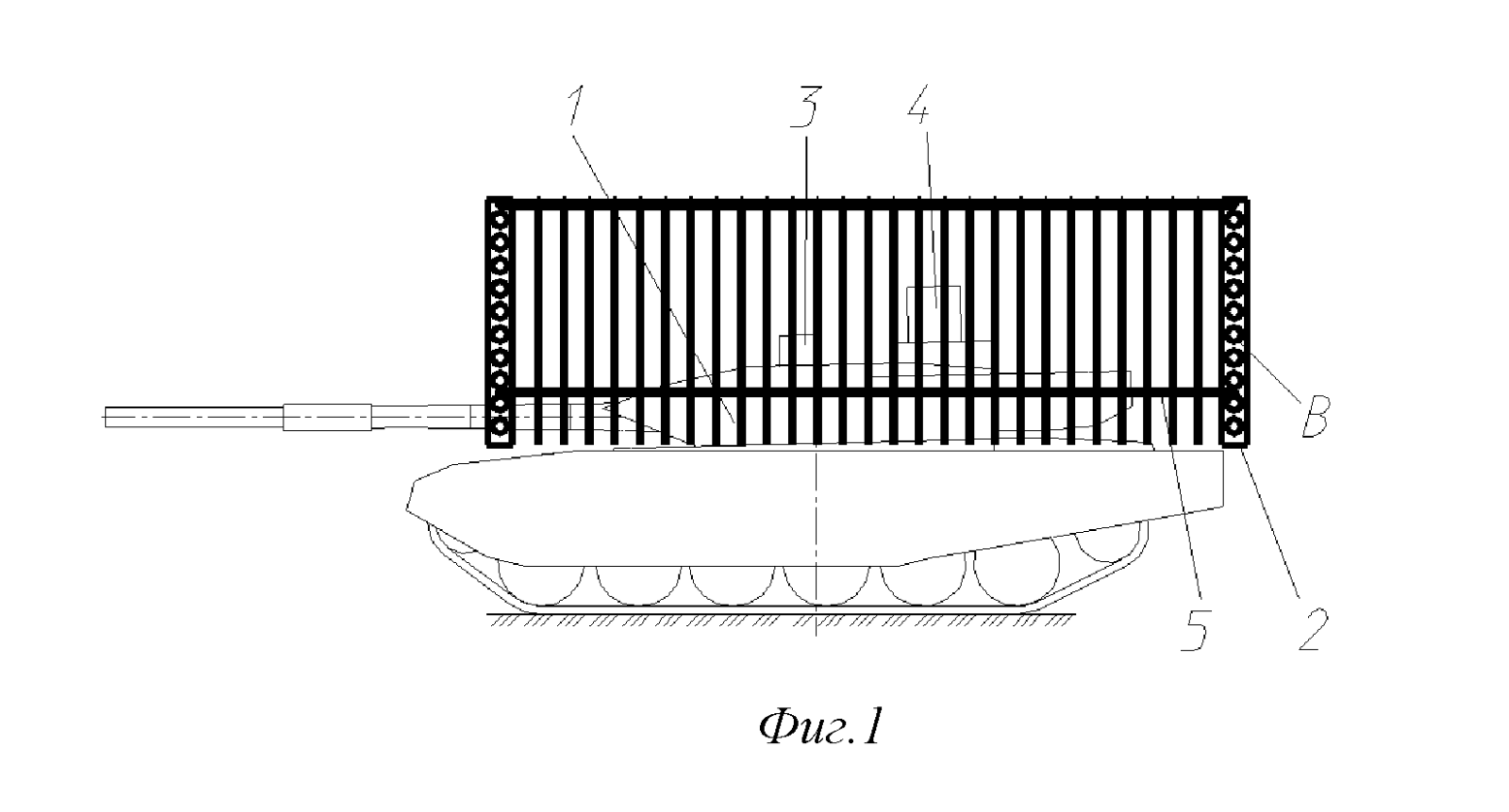
Патент на Устройство защиты башни танка от дронов-камикадзе от УКБТМ
Ссылка

Патент на Способ дополнительной броневой защиты части корпуса шасси наземного бронированного транспортного средства, содержащего шасси с полками вдоль бортов его корпуса, предназначенными для размещения оборудования, имущества и дополнительной защиты.


Т-72Б3А с Ареной и Т-90М с дз на полках.


Отредактировано DAK (2026-02-02 19:00:00)
Вы здесь » СИЛА РОССИИ. Форум сайта «Отвага» (www.otvaga2004.ru) » Бронетанковая техника » Защита современной БТТ-5